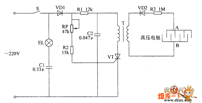
High Voltage Pulse Capacitor Rat Trap

An Improved Trap Design For Decoupling Multinuclear Rf Coils


Is An Electric Rat Trap Effective I Review One Of The Best
Aluminum Electrolytic Capacitor Application Guide

An Improved Trap Design For Decoupling Multinuclear Rf Coils
Aluminum Electrolytic Capacitor Application Guide
How To Make Electronic Rat Traps

Super Arc 1000kv High Voltage Generator Module Inverter Transformer Pulse Module Intl
Electronic Pests Killing Lamp Circuit Diagram 6

Make An Ultra Simple High Voltage Generator 5 Steps

Capacitors The R 390a Frequently Asked Questions Page

Easy High Voltage With Ignition Coil And Relay
Effects Of Pulse Width On He Plasma Jets In Contact With

Ir Decoder Encoder Part 2 Diy 38 Khz Irtr Module

Lipid Vesicles In Pulsed Electric Fields Fundamental
Where Can I Find Circuit For Electronic Rat Trap Page 1

Details About Dc 3 6v 6v To 400kv 400000v Boost Step Up Power Module High Voltage Generator Cn

Post a Comment for "High Voltage Pulse Capacitor Rat Trap"